基础数据
•基础数据统一管理,有效避免数据混乱或者丢失;自定义客户、产品、缺陷、问题类型等基础数据;
•自定义不同8D类别,支持按照不同问题等级选不同8D流程;
•自定义模板,每一步可以根据需要设定自定义字段或者表格;
Q-TOP 8D
Q-TOP® QMS系统为全球企业提供质量管理智能化解决方案
产品功能
基础数据
•基础数据统一管理,有效避免数据混乱或者丢失;自定义客户、产品、缺陷、问题类型等基础数据;
•自定义不同8D类别,支持按照不同问题等级选不同8D流程;
•自定义模板,每一步可以根据需要设定自定义字段或者表格;
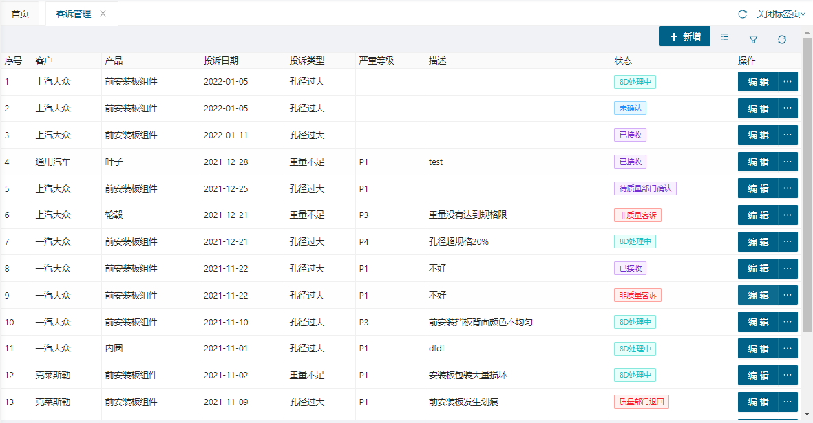
客诉管理
•建立客诉处理门户,实现客诉处理流程和内部质量处理流程的双循环;
•有效保障客诉处理的及时性,流程的透明性,客诉数据的完整性;
•搭建质量平台与售后平台的桥梁,实现质量与售后的松耦合;
•提供客诉质量的可分析数据,纳入质量大数据平台,推进关键质量问题的识别及解决;
8D处理
•系统可根据异常处理要求启动8D流程,用户也可单独启动8D流程;
•处理流程及审批,输入字段及表格均可按照用户需求配置;
•针对复杂问题,可以添加子任务分配给不同部门协同处理;
•提供鱼骨图、5WHY等分析工具;
•支持实时提醒及超时提醒;
•支持移动端处理及审批,并可上传现场照片或者视频;
8D报告
•多种看板让用户及时了解处理进度及过期情况。并根据设定模板输出8D报告及概要报告;
•积累最佳实践经验库,8D处理过程中可以查看最佳实践记录,并引用最佳推荐内容;
产品优势
支持多种自定义操作
自定义问题类型、8D类型、以及各步骤模板配置;还可自定义字段属性,满足用户不同配置需求
支持子任务派发跟催
针对复杂问题系统支持子任务创建、分配、及邮件跟催,满足各部门协同需求
协同客诉处置流程
建立客诉处理门户,实现客诉处理流程和内部质量处理流程的双循环
建立最佳实践经验库
8D处理步骤均可引用最佳实践经验库处理经验,提高8D处理效率
客服热线
0512-55230818
江苏省苏州市昆山市祖冲之南路1699号1号楼101室
关于我们
版权所有 江苏比尔信息科技有限公司苏ICP备00000000号
比尔信息产品:qms软件开发、spc分析软件、fmea软件、8d品质管理系统、质量管理8d软件、fmea失效分析系统、qms质量管理系统软件开发等,欢迎咨询FMEA开发公司。